Skip to content
The Secret Library | Leeds Libraries Heritage Blog
Menu
About & Contact
Collections & Treasures
Collections
The E.R. EDDISON Collection
The FRANK KIDSON Collection
The GASCOIGNE Collection
The GOTT Bequest
The GRIMSHAW Collection
The HENRY Collection
The LEEDS ANTIQUARIAN Collection
The ALF MATTISON Collection
The JOHN LUCAS Collection
Manuscript of John Lucas’ Memoranda Book (c.1712-1750)
The RALPH THORESBY Collection
Vicaria Leodiensis (1724)
The THOMAS WILSON Collection
Chartularium Kirkstallense (c.1740)
Liber Judiciarius: Thomas Wilson’s Dooms-Day Books for the County of Yorkshire.
The Annotated Ducatus Leodiensis (c.1745)
The First and Second Decree of the Committee of Pious-Uses in Leedes
The WILLIAM BOYNE COLLECTION
Boyne’s GRANGERISED HISTORY OF LEEDS
The LEODIS Image Archive
Leeds Playbills
The MARY GAWTHORPE Collection
The POLITICAL CARTOONS Collection
The 1868 PARLIAMENTARY ELECTION for Leeds
The SANDERSON Collection
The WILLIE RILEY Collection
The WING Collection (English Civil War Tracts)
Treasures
INCUNABULA (pre-1501 books)
The Nuremburg Chronicle (1497)
The BOOK OF HOURS (c. 1480)
The CISTERCIAN MISSAL (1516)
The GLEDHOW HALL HOSPITAL SCRAPBOOK (1915-1919)
The LEEDS POTTERY Collection
The SAXTON ATLAS (1579)
Contribute & Newsletter
Discovering Leeds
Donate to Leeds Libraries
Family History
History of Leeds Libraries
John Wormald Appleyard (1831 – 1894)
Leeds Libraries Heritage Trail
Armley Library
Bramley
Pudsey
Farsley
Calverley
Horsforth
Yeadon
Guiseley
Otley
Holt Park
Headingley
School Library Service
Chapeltown
Chapel Allerton
Moor Allerton
Wetherby
Boston Spa
Oakwood
Compton Road
Seacroft
Whinmoor
Scholes
Crossgates
Halton
Garforth
Kippax
Rothwell
Ardsley & Tingley Library
Middleton
Morley
Gildersome
Beeston
Dewsbury Road
Hunslet
Mobile Library Service
Kirkgate Market
Central Library
Celebration
Local History
A Brief History of Leeds
Black History in Leeds
Events
Ghost Stories
A Claret Gowned Lady – A Leeds Ghost
A Spectral Monk – The Bolton Abbey Ghost Story
Dicky’s Skull
Ghosts of the West Riding – The Bramhope Knight & The Headless Robin
Owd Walter atop his Headless Steed
The Bramley Miser
The Dancing Phantoms
The Evil Lappet – Clothes and a Curse
The Ghost Dog of Leeds
The Gipton Wood Ghost
The Harehills Cobbler – Ghostly Sight Through a Window
The Haunted Well
The Jet Black Mouse – When Evil Lives Ended
The White Lady of Richmond Hill / Cholera Ghosts
Leeds Describ’d in the 20th-century
Leeds Heritage Trails
The CHILDREN’S HISTORY OF BRIGGATE trail
The EDIBLE LEEDS trail
The HIDDEN NATURE, HIDDEN HISTORY trail
The LEEDS CIRCUS trail
The LEEDS SUFFRAGETTE trail
The LGBT+ trail
The POTTS CLOCK trail
The POWER AND PROTEST trail
Leeds Jewish History
Jewish Family History
LGBT+ history in Leeds
Local History Societies and Archives
Otley Museum
People of Leeds
The Life and Legacy of Gertrude Paul: Chapter 1
The Life and Legacy of Gertrude Paul: Chapter 2
The Life and Legacy of Gertrude Paul: Chapter 3
Sport in Leeds
Stories from the Stone Book
Past Exhibitions
Unearthed: The Power of Gardening
Unfinished Business: The Fight for Women’s Rights
Body
Mind
Voice
Voice of the Fans
Research & Collection Guides
Restricted access to specialist stock (2026)
patent01_med
Posted by
Leeds Libraries
on
November 15, 2018
Post navigation
Previous Post
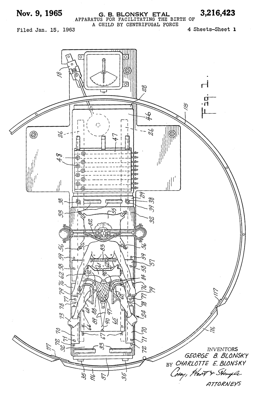
Leeds Baby Week and US. Patent 3,216,423
Leave a comment
Cancel reply
Δ
This site uses Akismet to reduce spam.
Learn how your comment data is processed.
Comment
Subscribe
Subscribed
The Secret Library | Leeds Libraries Heritage Blog
Join 661 other subscribers
Sign me up
Already have a WordPress.com account?
Log in now.
The Secret Library | Leeds Libraries Heritage Blog
Subscribe
Subscribed
Sign up
Log in
Copy shortlink
Report this content
View post in Reader
Manage subscriptions
Collapse this bar